桥检系统
桥检系统
首页
功能介绍
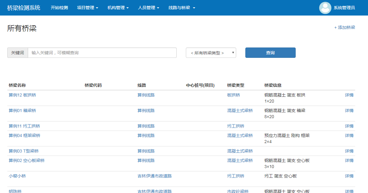
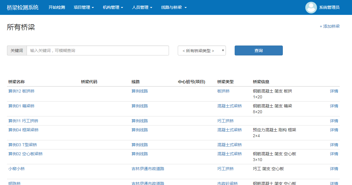
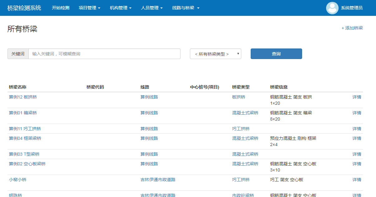
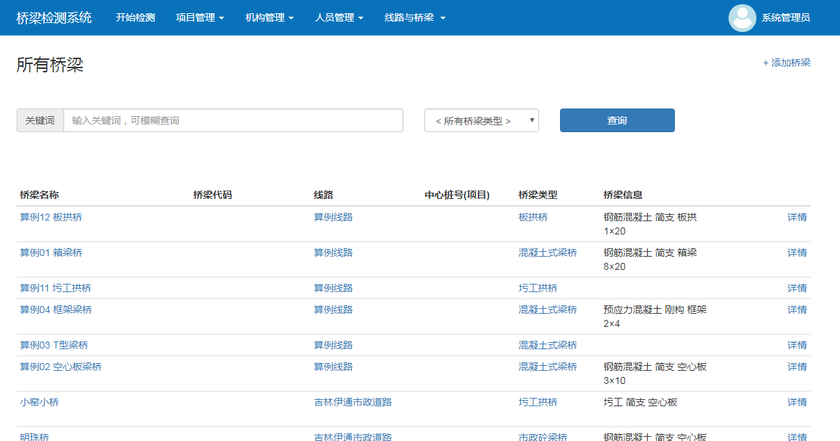
桥梁信息管理
桥梁检索查询
基本信息
结构信息
构件信息
桥梁地图定位
添加桥梁
导入桥梁
首页
功能介绍
-
工程项目管理
-
工程进度状态管理
-
工程地图与路线规划
-
外业数据录入
-
内业评分计算
-
项目数据统计
-
自动生成报告
-
桥梁信息管理
-
线路信息管理
-
桥梁构件信息管理
-
构件病害类型管理
最后更新于 累计访问 75230 人次
本页二维码,可扫码访问与转发